
  
Peripheral Component Interconnect (PCI), 
as its name implies is a standard that describes how to connect
the peripheral components of a system together in a structured
and controlled way.
The standard describes  
the way that the system components are electrically
connected and the way that they should behave.
This chapter looks at how the Linux kernel initializes the system's PCI
buses and devices.

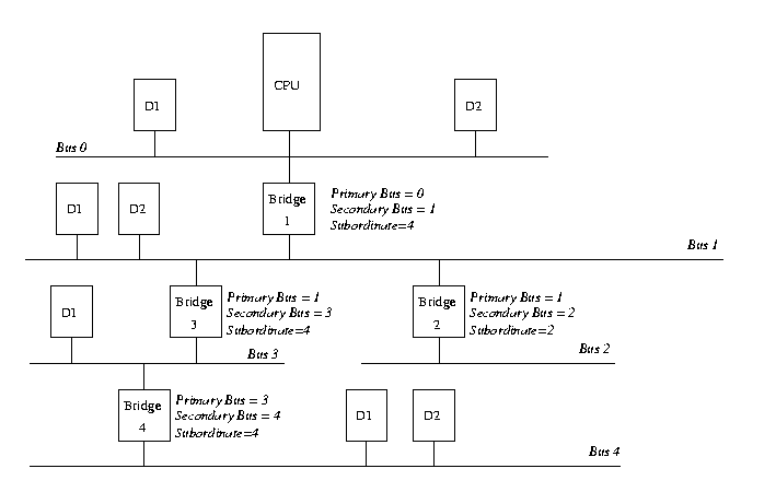
Figure 6.1 is a logical diagram of an example PCI based system. The PCI buses and PCI-PCI bridges are the glue connecting the system components together; the CPU is connected to PCI bus 0, the primary PCI bus as is the video device. A special PCI device, a PCI-PCI bridge connects the primary bus to the secondary PCI bus, PCI bus 1. In the jargon of the PCI specification, PCI bus 1 is described as being downstream of the PCI-PCI bridge and PCI bus 0 is up-stream of the bridge. Connected to the secondary PCI bus are the SCSI and ethernet devices for the system. Physically the bridge, secondary PCI bus and two devices would all be contained on the same combination PCI card. The PCI-ISA bridge in the system supports older, legacy ISA devices and the diagram shows a super I/O controller chip, which controls the keyboard, mouse and floppy. 1
The CPU and the PCI devices need to access memory that is shared between them. This memory is used by device drivers to control the PCI devices and to pass information between them. Typically the shared memory contains control and status registers for the device. These registers are used to control the device and to read its status. For example, the PCI SCSI device driver would read its status register to find out if the SCSI device was ready to write a block of information to the SCSI disk. Or it might write to the control register to start the device running after it has been turned on.
The CPU's system memory could be used for this shared memory but if it were, then every time a PCI device accessed memory, the CPU would have to stall, waiting for the PCI device to finish. Access to memory is generally limited to one system component at a time. This would slow the system down. It is also not a good idea to allow the system's peripheral devices to access main memory in an uncontrolled way. This would be very dangerous; a rogue device could make the system very unstable.
Peripheral devices have their own memory spaces. The CPU can access these spaces but access by the devices into the system's memory is very strictly controlled using DMA (Direct Memory Access) channels. ISA devices have access to two address spaces, ISA I/O (Input/Output) and ISA memory. PCI has three; PCI I/O, PCI Memory and PCI Configuration space. All of these address spaces are also accessible by the CPU with the the PCI I/O and PCI Memory address spaces being used by the device drivers and the PCI Configuration space being used by the PCI initialization code within the Linux kernel.
The Alpha AXP processor does not have natural access to addresses spaces other than the system address space. It uses support chipsets to access other address spaces such as PCI Configuration space. It uses a sparse address mapping scheme which steals part of the large virtual address space and maps it to the PCI address spaces.

Every PCI device in the system, including the PCI-PCI bridges has a configuration data structure that is somewhere in the PCI configuration address space. The PCI Configuration header allows the system to identify and control the device. Exactly where the header is in the PCI Configuration address space depends on where in the PCI topology that device is. For example, a PCI video card plugged into one PCI slot on the PC motherboard will have its configuration header at one location and if it is plugged into another PCI slot then its header will appear in another location in PCI Configuration memory. This does not matter, for wherever the PCI devices and bridges are the system will find and configure them using the status and configuration registers in their configuration headers.
Typically, systems are designed so that every PCI slot has it's PCI Configuration Header in an offset that is related to its slot on the board. So, for example, the first slot on the board might have its PCI Configuration at offset 0 and the second slot at offset 256 (all headers are the same length, 256 bytes) and so on. A system specific hardware mechanism is defined so that the PCI configuration code can attempt to examine all possible PCI Configuration Headers for a given PCI bus and know which devices are present and which devices are absent simply by trying to read one of the fields in the header (usually the Vendor Identification field) and getting some sort of error. The describes one possible error message as returning 0xFFFFFFFF when attempting to read the Vendor Identification and Device Identification fields for an empty PCI slot.
Figure 6.2 shows the layout of the 256 byte PCI configuration header. It contains the following fields:
These two address spaces are used by the devices to communicate with their device drivers running in the Linux kernel on the CPU. For example, the DECchip 21141 fast ethernet device maps its internal registers into PCI I/O space. Its Linux device driver then reads and writes those registers to control the device. Video drivers typically use large amounts of PCI memory space to contain video information.
Until the PCI system has been set up and the device's access to these address spaces has been turned on using the Command field in the PCI Configuration header, nothing can access them. It should be noted that only the PCI configuration code reads and writes PCI configuration addresses; the Linux device drivers only read and write PCI I/O and PCI memory addresses.
PCI-PCI bridges are special PCI devices that glue the PCI buses of the system together. Simple systems have a single PCI bus but there is an electrical limit on the number of PCI devices that a single PCI bus can support. Using PCI-PCI bridges to add more PCI buses allows the system to support many more PCI devices. This is particularly important for a high performance server. Of course, Linux fully supports the use of PCI-PCI bridges.


So that the CPU's PCI initialization code can address devices that are not on the main PCI bus, there has to be a mechanism that allows bridges to decide whether or not to pass Configuration cycles from their primary interface to their secondary interface. A cycle is just an address as it appears on the PCI bus. The PCI specification defines two formats for the PCI Configuration addresses; Type 0 and Type 1; these are shown in Figure 6.3 and Figure 6.4 respectively. Type 0 PCI Configuration cycles do not contain a bus number and these are interpretted by all devices as being for PCI configuration addresses on this PCI bus. Bits 31:11 of the Type 0 configuraration cycles are treated as the device select field. One way to design a system is to have each bit select a different device. In this case bit 11 would select the PCI device in slot 0, bit 12 would select the PCI device in slot 1 and so on. Another way is to write the device's slot number directly into bits 31:11. Which mechanism is used in a system depends on the system's PCI memory controller.
Type 1 PCI Configuration cycles contain a PCI bus number and this type of configuration cycle is ignored by all PCI devices except the PCI-PCI bridges. All of the PCI-PCI Bridges seeing Type 1 configuration cycles may choose to pass them to the PCI buses downstream of themselves. Whether the PCI-PCI Bridge ignores the Type 1 configuration cycle or passes it onto the downstream PCI bus depends on how the PCI-PCI Bridge has been configured. Every PCI-PCI bridge has a primary bus interface number and a secondary bus interface number. The primary bus interface being the one nearest the CPU and the secondary bus interface being the one furthest away. Each PCI-PCI Bridge also has a subordinate bus number and this is the maximum bus number of all the PCI buses that are bridged beyond the secondary bus interface. Or to put it another way, the subordinate bus number is the highest numbered PCI bus downstream of the PCI-PCI bridge. When the PCI-PCI bridge sees a Type 1 PCI configuration cycle it does one of the following things:
So, if we want to address Device 1 on bus 3 of the topology Figure pci-pci-config-eg-4 on page we must generate a Type 1 Configuration command from the CPU. Bridge1 passes this unchanged onto Bus 1. Bridge2 ignores it but Bridge3 converts it into a Type 0 Configuration command and sends it out on Bus 3 where Device 1 responds to it.
It is up to each individual operating system to allocate bus numbers during PCI configuration but whatever the numbering scheme used the following statement must be true for all of the PCI-PCI bridges in the system:
``All PCI buses located behind a PCI-PCI bridge must reside between the seondary bus number and the subordinate bus number (inclusive).''
If this rule is broken then the PCI-PCI Bridges will not pass and translate Type 1 PCI configuration cycles correctly and the system will fail to find and initialise the PCI devices in the system. To achieve this numbering scheme, Linux configures these special devices in a particular order. Section pci-pci-bus-numbering on page describes Linux's PCI bridge and bus numbering scheme in detail together with a worked example.
The PCI initialisation code in Linux is broken into three logical parts:

As the Linux kernel initialises the PCI system it builds data structures mirroring the real PCI topology of the system. Figure 6.5 shows the relationships of the data structures that it would build for the example PCI system in Figure 6.1 on page pageref.
Each PCI device (including the PCI-PCI Bridges) is described by a pci_dev data structure. Each PCI bus is described by a pci_bus data structure. The result is a tree structure of PCI buses each of which has a number of child PCI devices attached to it. As a PCI bus can only be reached using a PCI-PCI Bridge (except the primary PCI bus, bus 0), each pci_bus contains a pointer to the PCI device (the PCI-PCI Bridge) that it is accessed through. That PCI device is a child of the the PCI Bus's parent PCI bus.
Not shown in the Figure 6.5 is a pointer to all of the PCI devices in the system, pci_devices. All of the PCI devices in the system have their pci_dev data structures queued onto this queue.. This queue is used by the Linux kernel to quickly find all of the PCI devices in the system.
The PCI device driver is not really a device driver at all but a function of the operating system called at system initialisation time. The PCI initialisation code must scan all of the PCI buses in the system looking for all PCI devices in the system (including PCI-PCI bridge devices).
It uses the PCI BIOS code to find out if every possible slot in the current PCI bus that it is scanning is occupied. If the PCI slot is occupied, it builds a pci_dev data structure describing the device and links into the list of known PCI devices (pointed at by pci_devices).
The PCI initialisation code starts by scanning PCI Bus 0. It tries to read the Vendor Identification and Device Identification fields for every possible PCI device in every possible PCI slot. When it finds an occupied slot it builds a pci_dev data structure describing the device. All of the pci_dev data structures built by the PCI initialisation code (including all of the PCI-PCI Bridges) are linked into a singly linked list; pci_devices.
If the PCI device that was found was a PCI-PCI bridge then a pci_bus data structure is built and linked into the tree of pci_bus and pci_dev data structures pointed at by pci_root. The PCI initialisation code can tell if the PCI device is a PCI-PCI Bridge because it has a class code of 0x060400. The Linux kernel then configures the PCI bus on the other (downstream) side of the PCI-PCI Bridge that it has just found. If more PCI-PCI Bridges are found then these are also configured. This process is known as a depthwise algorithm; the system's PCI topology is fully mapped depthwise before searching breadthwise. Looking at Figure 6.1 on page pageref, Linux would configure PCI Bus 1 with its Ethernet and SCSI device before it configured the video device on PCI Bus 0.
As Linux searches for downstream PCI buses it must also configure the intervening PCI-PCI bridges' secondary and subordinate bus numbers. This is described in detail in Section pci-pci-bus-numbering below.

For PCI-PCI bridges to pass PCI I/O, PCI Memory or PCI Configuration address space reads and writes across them, they need to know the following:
The problem is that at the time when you wish to configure any given PCI-PCI bridge you do not know the subordinate bus number for that bridge. You do not know if there are further PCI-PCI bridges downstream and if you did, you do not know what numbers will be assigned to them. The answer is to use a depthwise recursive algorithm and scan each bus for any PCI-PCI bridges assigning them numbers as they are found. As each PCI-PCI bridge is found and its secondary bus numbered, assign it a temporary subordinate number of 0xFF and scan and assign numbers to all PCI-PCI bridges downstream of it. This all seems complicated but the worked example below makes this process clearer.



The PCI BIOS functions are a series of standard routines which are common across all platforms. For example, they are the same for both Intel and Alpha AXP based systems. They allow the CPU controlled access to all of the PCI address spaces.
Only Linux kernel code and device drivers may use them.
The PCI fixup code for Alpha AXP does rather more than that for Intel (which basically does nothing).
For Intel based systems the system BIOS, which ran at boot time, has already fully configured the PCI system. This leaves Linux with little to do other than map that configuration. For non-Intel based systems further configuration needs to happen to:
The next subsections describe how that code works.

There are two basic types of Base Address Register, the first indicates within which address space the devices registers must reside; either PCI I/O or PCI Memory space. This is indicated by Bit 0 of the register. Figure 6.10 shows the two forms of the Base Address Register for PCI Memory and for PCI I/O.
To find out just how much of each address space a given Base Address Register is requesting, you write all 1s into the register and then read it back. The device will specify zeros in the don't care address bits, effectively specifying the address space required. This design implies that all address spaces used are a power of two and are naturally aligned.
For example when you initialize the DECChip 21142 PCI Fast Ethernet device, it tells you that it needs 0x100 bytes of space of either PCI I/O or PCI Memory. The initialization code allocates it space. The moment that it allocates space, the 21142's control and status registers can be seen at those addresses.
The algorithm that Linux uses relies on each device described by the bus/device tree built by the PCI Device Driver being allocated address space in ascending PCI I/O memory order. Again a recursive algorithm is used to walk the pci_bus and pci_dev data structures built by the PCI initialisation code. Starting at the root PCI bus (pointed at by pci_root) the BIOS fixup code:
Taking the PCI system in Figure 6.1 on page pageref as our example the PCI Fixup code would set up the system in the following way:
1 For example?